Here is a list of some the patents granted Apple today by the USPTO. Two interesting patents are 8,296,383 – Electronic devices with voice command and contextual data processing capabilities and 8,294,766 – Generating a three-dimensional model using a portable electronic device recording.
8,296,383
Electronic devices with voice command and contextual data processing capabilities
The Patent Background
This invention relates generally to electronic devices, and more particularly, to electronic devices such as portable electronic devices that can capture voice commands and contextual information.
Electronic devices such as portable electronic devices are becoming increasingly popular. Examples of portable devices include handheld computers, cellular telephones, media players, and hybrid devices that include the functionality of multiple devices of this type. Popular portable electronic devices that are somewhat larger than traditional handheld electronic devices include laptop computers and tablet computers.
Portable electronic devices such as handheld electronic devices may have limited speech recognition capabilities. For example, a cellular telephone may have a microphone that can be used to receive and process cellular telephone voice commands that control the operation of the cellular telephone.
The Patent Invention
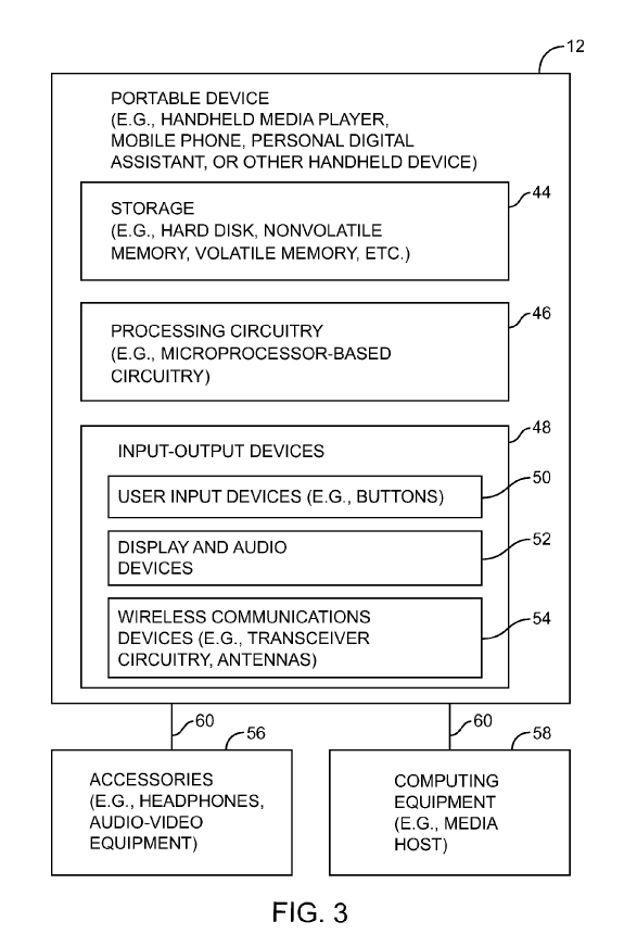
A portable electronic device such as a handheld electronic device is provided. The electronic device may have a microphone that is used to receive voice commands. The electronic device may use the microphone to record a user’s voice. The recording of the user’s voice may be stored as a digital audio file in storage associated with the electronic device.
When the electronic device receives a voice command, the electronic device may store information about the current state of the electronic device and its operating environment as contextual information (metadata). With one suitable arrangement, stored contextual information may include information about the operational state of the electronic device such as which applications are running on the device and their status. The electronic device may determine which portions of the information on the state of the device are relevant to the voice command and may store only the relevant portions. If desired, the electronic device may determine which contextual information is most relevant by performing a speech recognition operation on the recorded voice command to look for specific keywords.
The electronic device may process voice commands locally or voice commands processing may be performed remotely. For example, the electronic device may transmit one or more recorded voice commands and associated contextual information to computing equipment such as a desktop computer. Captured voice commands and contextual information may also be uploaded to server computing equipment over a network. The electronic device may transmit recorded voice commands and the associated contextual information at any suitable time such as when instructed by a user, as each voice command is received, immediately after each voice command is received, whenever the electronic device is synched with appropriate computing equipment, or other suitable times.
After a recorded voice command and associated contextual information have been transferred to a desktop computer, remote server, or other computing equipment, the computing equipment may process the voice command using a speech recognition operation. The computing equipment may use the results of the speech recognition operation and any relevant contextual information together to respond to the voice command properly. For example, the computing equipment may respond to the voice command by displaying search results or performing other suitable actions). If desired, the computing equipment may convey information back to the electronic device in response to the voice command.
In a typical scenario, a user may make a voice command while directing the electronic device to record the voice command. The user may make the voice command while the electronic device is performing a particular operation with an application. For example, the user may be using the electronic device to play songs with a media application. While listening to a song, the user may press a record button on the electronic device to record the voice command “find more like this.” The voice command may be processed by the electronic device (e.g., to create a code representative of the spoken command) or may be stored in the form of an audio clip by the electronic device. At an appropriate time, such as when the electronic device is connected to a host computer or a remote server through a communications path, the code or the audio clip corresponding to the spoken command may be uploaded for further processing. Contextual information such as information on the song that was playing in the media application when the voice command was made may be uploaded with the voice command.
D669,477
iPad docking Station
D669,468
Portable display device
8,294,766
Generating a three-dimensional model using a portable electronic device recording
Patent Background
This is directed to systems and methods for navigating a scene or around an object in three dimensions using deterministic movement of an electronic device. This is also directed to systems and methods for generating a three-dimensional model of a scene or of an object for subsequent three-dimensional navigation by recording the scene using an electronic device.
Users of electronic devices can view various information displayed by the devices. For example, a user can direct an electronic device to display a representation of a three-dimensional object (e.g., a photograph), or allow a user to navigate a representation of a location or of a virtual world (e.g., navigate through a series of images representing a city, such as a series of images in a street view of a mapping application). A user can direct the device to display such information using any suitable approach, including for example by selecting the information from a locally stored or remotely accessed source using an input mechanism. Once selected, the information can be displayed.
Patent Invention
This is directed to systems and methods for navigating three-dimensional environments and viewing three-dimensional objects on an electronic device display based on deterministic movement of the electronic device. This is also directed to systems and methods for recording a video of a three-dimensional environment or three-dimensional object, and processing the video to generate a three-dimensional model that can be navigated in an order other than that of the recording.
In some embodiments, a user can direct an electronic device to display information that can be associated with three-dimensional navigation such as, for example, three-dimensional models of environments or objects. For example, a user can direct an electronic device to access a mapping application that provides images of what can be seen in some or any direction from a particular location. As another example, a user can direct an electronic device to display a video game in which a user may navigate a virtual world and see, in any direction, what the virtual world resembles (e.g., rendered images of the virtual world’s appearance from any location in the virtual world). As still another example, a user can direct the electronic device to display a three-dimensional object (e.g., an object for sale) that the user can manipulate or view from different angles.
To change the particular display of the environment or object without requiring an input from a dedicated input mechanism, the electronic device can include a motion sensing component (e.g., an accelerometer) operative to detect movements of the electronic device. When the device displays information associated with three-dimensional navigation, the electronic device can monitor the motion-sensing component for device movement and change the displayed information to reflect the output of the motion sensing component. The change in appearance of the three-dimensional environment or object displayed by the device can be correlated to the device movement using any suitable approach, including for example using a linear approximation (e.g., as the user tilts the device, the electronic device displays the environment or object as if the user’s perspective of the object was tilted in the same manner as the device). In effect, the electronic device display can provide a window, movable in three dimensions, into the three-dimensional environment, or for viewing the three-dimensional object.
Other Apple’s Patent Granted
8,294,675
Touchpad and pick button assembly
A touchpad assembly for use in an electronic device is provided. The touchpad assembly may include a touchpad frame operative to be placed within an opening in an electronic device frame. The touchpad assembly may include a support plate for supporting a touchpad, and a bracket for receiving a pick button. The support plate and bracket may be manufactured into a same component to increase the rigidity of the touchpad assembly. The pick button may include a varying height to prevent the pick button from deflecting and to make the pick button travel for providing a selection instruction uniform. The pick button may be coupled to the frame using any suitable approach, including using springs connected the ends of the pick button to the frame. The frame may also include pads to muffle the sound of the pick button when it returns to its initial position after having been pressed.
8,295,610
Feature scaling for face detection
A feature used in face detection can be applied to an image portion and can be scaled to fit differently sized image areas. If a feature is positioned with respect to an image area such that a vertex of the feature is aligned with a non-integer pixel location, at least one dimension of the filter can be rounded. A dimension to be rounded further can correspond to a directional component of the feature. For instance, contrast regions within the feature can be arranged horizontally, such that the vertical dimension represents a directional component. A rounding rule associated with the feature can be used in rounding a dimension corresponding to a directional component, such that a size ratio between the contrast regions is maintained. In some instances, the rounding rule can specify a factor that is a positive integer determined based on the number of contrast regions in the feature.
8,294,659
Secondary backlight indicator for portable media devices
Systems and methods are provided for displaying icons directly on a display, such as an LCD, regardless of whether the display is ON. When the display is ON, a primary backlight may be used to illuminate the display. When the display is OFF, a secondary backlight may project light through the primary backlight to display one or more icons on the display. The displayed icons may be of various shapes, colors, and sizes.
8,295,682
Selecting previously-selected segments of a signal
Techniques and interface controls are described which allow users of signal editing applications to easily select previously-selected segments of the signal. As the user selects segments of the signal, the signal editing application automatically generates “selection history data”. The selection history data that is generated for a selected segment indicates the boundaries of the selected segment, and the sequence in which the selected segment was selected relative to other previously-selected segments. The signal editing application provides controls for re-selecting the previously-selected segments that are reflected in the selection history data. In response to user-input received through these controls, the signal editing tool reselects a previously-selected segment based on the boundaries indicated in the selection history data.
8,296,833
System connections and user interfaces
This disclosure relates to methods and systems to allow, in one embodiment, automatic access from one system to other systems which include an operating system that includes a user login process. In one embodiment, a method includes logging into, automatically in response to starting a first data processing system, a second data processing system at least as a guest user of the second data processing system which has a storage volume storing data and displaying a user interface object on a display device of the first data processing system, the user interface object corresponding to at least one of the second data processing system and the storage volume to allow at least one of a search to be performed or a browsing to be performed of the data stored on the storage volume.
8,296,776
Efficient mechanism for terminating applications
8,296,677
Content abstraction presentation along a multidimensional path
8,294,850
LCD panel having improved response
A liquid crystal display (LCD) having a liquid crystal layer is provided. In one embodiment, the liquid crystal layer includes a nematic liquid crystal material having liquid crystal molecules in an untwisted state. A chiral dopant is dispersed within the liquid crystal layer and configured to bias the liquid crystal molecules toward a twisted state. Furthermore, a polymer network is disposed among the liquid crystal molecules and configured to bias the liquid crystal molecules toward the untwisted state. Various additional devices and methods are also provided.




