TheTechStorm came across this very interesting photos from Tech.Sina, Apple Sinks – Forum. These purported photos of an iPhone 5 with a curved body were posted by a forum member.
Smartphones featuring a curved glass body is not exactly new, the Google Nexus 4, sports this feature.
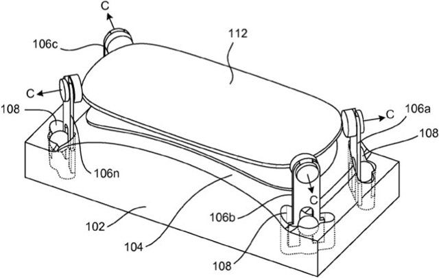
Apple has recently received a curve-glass design patent that could find itself in future iPhones. The title of the patent in question is – Glass alignment for high temperature processes .
The abstract of the above patent states:
Apparatus, systems and methods for alignment of a glass member for high temperature processing are disclosed. The high temperature processing can, for example, pertain to a slumping process to mold glass into a predetermined shape (e.g., a three-dimensional shape). In one embodiment, a glass slumping system can have a mold and an alignment system that support a glass member to be slumped relative to the mold. The alignment system may have a plurality of alignment members being configured to move away from the glass member as the temperature increases during the slumping process to allow the glass member to bend around the mold without interference.
Apple is exploring the concept as well: it just received a patent for a technique that molds thin glass into bent or curved shapes without a drawn-out process or using risky chemicals. By having alignment tools shift along with hotter temperatures during a glass slumping process, where the material shapes itself around a mold, Apple can bend glass without any interference — leading to curvy surfaces that are both quicker to make and higher quality.
On a serious note, it would be nice to know what Sorcery was used to produce this curved body without damaging the phone.



